В процеса на подготовката за експедиция „Kedar Dome 2005” на 23.05.2005г. Никола Леваков, Николай Милушев и Виктор Стефанов изкатериха нов маршрут на масива Западна част на Централна стена на Враца. Тура се нарича ‘Achtung, Baby!’ VI+,A1, 280м, ИТ.

При предишния опит седмица по-рано за два дни бяха изкатерени 45 м, които впоследствие са оформени като четвърто въже от тура.

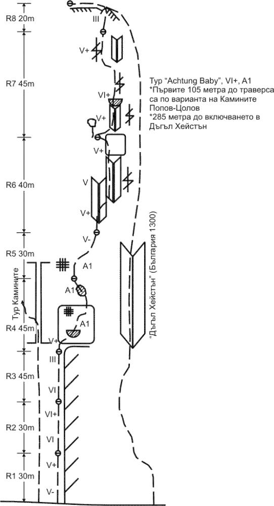
Първите три въжета до перваза са по вараинта Попов-Цолов, след което маршрута върви вляво от тур „България 1300” и се включва в него в края на осмо въже. На осигуровките има по 1 анкерен болт, с изключение на края на седмо въже, където има два скални клина. На четвърто въже има два болта за междинна осигуровка.

За желаещите да го изкатерят:
- подробна схема ще има в сайта до няколко дни.
- на четвърто въже има участък от 10м, а на пето въже около 20м където скалата е ронлива (Там смятаме да сложим допълнителни осигуровки!).
- може да се слиза на рапели от тура
- категорията не е потвърдена от други катерачи и следва да се приема условно.
- необходим инвентар – нормалният, плюс добър комплект френдове (ние ползвахме около 12 бр.), клеми, 5-10 различни клина и чук.

Очертание Н.Милушев. Сн. Н.Петков
Тур Achtung, Baby. С червено е очертана премиерната част.
Схема Николай Милушев